更多精彩内容,点击下载 中国金融网APP 查看
相关新闻
-
江阴银行上半年营收降2%资本充足率降
2021年09月09日16时33分
-
深交所与陕西全面深化合作
2019年09月04日10时20分
-
银保监会发布《关于保险资金投资银行资本补充债券有关事项的通知》
2020年05月27日15时15分
-
引导社会资本有序投入乡村
2022年04月26日08时41分
-
中共中央、国务院:完善股市基础制度 推进资本要素市场化配置
2020年04月10日08时57分
-
我国首个支持资本市场的货币政策工具落地
2024年10月10日17时08分
关注金融网
数据来源:恒丰银行2021年年报
数据来源:银保监会官网
数据来源:恒丰银行2021年年报
数据来源:Wind
数据来源:恒丰银行2021年报

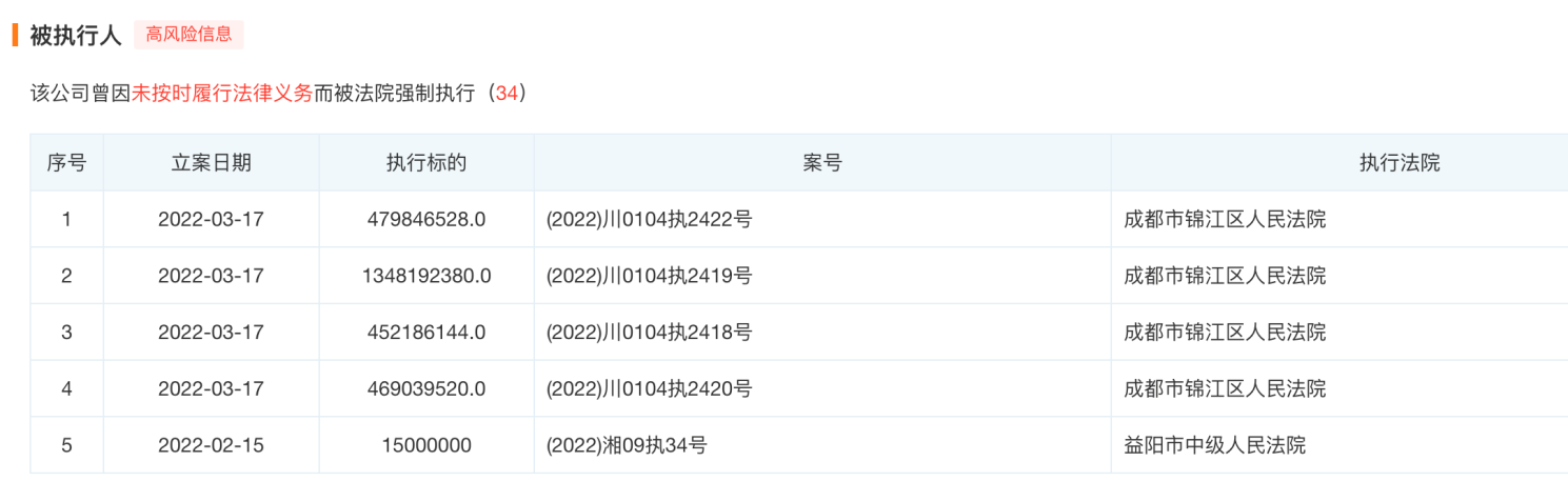
数据来源:天眼查